A cyclist rode at an average speed of 15 mph for 30 miles. How long was the ride? Solve for time.

A) 2 hours
B) 1 hour
C) 3 hours
D) 0.5 hours

Answers

Answer 1

Answer:

A. 2 hours

Explanation:

It will take 2 hours to ride 30 miles

Answer 2
2 Hours. You can do this with a ratio of 15:1, since riding 15 miles takes one hour, times both values by two to get 30:2.

Related Questions

I'll give Brainliest!!!
Which of the following is not a physical change?
A.sublimation of iodine C. tearing a piece of cloth
B. burning of wax in a candle D. dissolving sugar in a tea

Answers

Answer: B. Burning of wax in a candle

Explanation: Burning of wax is a chemical change due to the combustion of fuel in the presence of oxygen to produce carbon dioxide. A physical change part of it is when the wax of candle melts and the shape is lost.

The answer would be B.

Jerome is learning how the model of the atom has changed over time as new evidence was gathered. He has images of four models of the atom, but they are not in the correct order.

In what order should Jerome put these models to show the development from the earliest model of the atom to the most recent one?

Y, X, Z, W
Y, Z, W, X
W, Z, X, Y
W, Y, Z, X

Jerome is learning how the model of the atom has changed over time as new evidence was gathered. He has

Answers

The answer is: Y,X,Z,W

Answer:

A.

Explanation:

Identify which of the following descriptions of a tree is quantitative?

Question 1 options:

(A) has greenish-gray leaves


(B)has leaves that are 8-10 cm long


(C)has rough, scaly bark


(D)grows well in damp soil

Answers

Answer:

b) has leaves that are 8 -10 cm long

b-has leaves that are 8-10 cm long

what is methyl orange

Answers

Methyl orange is a popular pH indicator that is used in the titration. The color turns red when methyl orange is used as an indicator of acid.

Answer:

orange made up from methyl

Pls could help me complete the "standart form" part :(

Pls could help me complete the "standart form" part :(

Answers

Answer:

I don’t know bro

Explanation: WHY DID U REMOVE THIS

help pls i will give brainlest

help pls i will give brainlest

Answers

Answer: its 5ft tall and 12 inches

Explanation:

The answer is 5 foot 12 inches

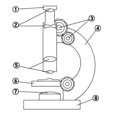
Use the word bank to label the different parts of a microscope.
1.
2.
3.
4.
5.
6.
7.
8.

Use the word bank to label the different parts of a microscope.1. 2. 3. 4. 5. 6. 7. 8.

Answers

Answer:

1. eyepiece

2. body piece

3. Adjustments

4. Arm

5. Objective lens

6. Stage

7. Mirror

8. Base

Explanation:

I hope this helps.

Here's the labeled list of different parts of a microscope using the word bank; Eyepiece (ocular lens), Objective lenses, Arm, Stage, Coarse focus, knob, Fine focus knob, Diaphragm or Iris diaphragm, and Light source (lamp or mirror)

Eyepiece (ocular lens): This is the lens at the top of the microscope that you look through to view the specimen. It typically provides a magnification of 10x.

Objective lenses: These are the lenses located on the rotating nosepiece, closest to the specimen. They come in different magnifications, such as 4x, 10x, 40x, and 100x, and are used to magnify the image of the specimen.

Arm: The arm is the curved part of the microscope that connects the eyepiece and the base. It is used to carry the microscope and provides a handle for holding it securely.

Stage: The stage is the flat platform where the specimen is placed for observation. It may have clips or a mechanical stage to hold the slide in place.

Coarse focus knob: This knob is used for large, rapid adjustments of the focus. It moves the stage up and down to bring the specimen into rough focus.

Fine focus knob: The fine focus knob is used for precise adjustments of the focus. It is used after the coarse focus to bring the specimen into sharp focus.

Diaphragm or Iris diaphragm: The diaphragm or iris diaphragm is located under the stage and controls the amount of light passing through the specimen. It helps in adjusting the contrast and brightness of the image.

Light source (lamp or mirror): The light source provides illumination for the specimen. It can be an electric lamp located at the base or a mirror that reflects natural light onto the specimen from above.

These are the essential parts of a compound light microscope, which is a widely used type of microscope for magnifying and observing small specimens in various fields such as biology, medicine, and materials science.

To know more about microscope here

https://brainly.com/question/9255183

#SPJ3

A student is pulling a large recycling bin. A teacher fills it with old papers to recycle. What property of the bin changes, and in what way? What does the student have to do to keep the bin moving at the same speed?

Answers

Answer:

the mass use his or her force to keep it at the same speed

Explanation:

What's lithium ?
Please explain :)

Answers

Lithium is a soft, silvery-white, metal that heads group 1, the alkali metals group, of the periodic table of the elements

Lithium (the drug) is used to treat mania, and mood disorders.

Candice did an experiment where wondered if temperature affects how cheese molds. She put a piece of cheese next to a different heat lamp and then measured how much mold was on each cheese. What is the DEPENDENT variable?

Answers

How much the cheese molds. Since it depends on the heat lamp.

A 25 milliliter sample of HNO2 (aq) is neutralized by 32.1 milliliters of 0.150 M KOH (aq). What is the concentration of the acid

Answers

Answer:

The answer is (3) 0.193M.

Explanation:

To find the molarity of HNO3, you just need to use the M1V1=M2V2 equation (no need to worry about ionization constants because HNO3 is monoprotic and KOH dissociates 1:1). Since the molarity you are looking for is M1, you get M1=M2V2/V1=(0.150)(32.1)/25.0= 0.193M

How would you measure 20 grams of salt? Describe how you did this.


(this is due by tmr so someone please help!)

Answers

Answer:

I would just find a measuring cup and do it that way it's the easiest way

use a weighing scale. Put a bowl or cup on the weighing scale take off the weight of it- set weight to 0, and then put in the salt nd measure up to 20g

why is a neutral solution neutral?

Answers

Answer:

A neutral solution is neutral if it has the same concentration of hydrogen ions as the hydroxide ions.

Explanation:

Hydrogen ions have a positive charge [H+] while Hydroxide ions have a negative charge [OH-]. Given that a solution has equal amounts of both Hydrogen and Hydroxide ions, the charges cancel each other out resulting in a neutral solution.

Yay free points!!! Also the guy above me is right, I fact checked it through Socratic :)

What substance do you get when you combine Bromine and Barium?

Answers

Barium bromide is the chemical compound with the formula BaBr2. Like barium chloride, it dissolves well in water and is toxic.

How to work out the relative mass of potassium? What is the calculation? ( explained very easily )

Answers

Answer:

39

Explanation:

Relative mass does not need to be calculated as it is listed on the periodic table. Potassium's relative atomic mass is around 39.

Relative Atomic Mass = Mass of one atom
———————————
(1/12)th Mass of one C12 atom

Calculate the mass of a liquid with a density of 4.7 g/mL and a volume of 15 mL. help me plssssssssssssssssssssssssssssssssss

Answers

Answer:

70.5g

Explanation:

D=M/V

D=4.7 g/ml

V=15ml

plug into equation

4.7=m/15

multiply both sides by 15

m=70.5g

Answer:

70.5g/ml

Explanation:

density times volume

Research gestation and mating. Find out three other mammals' gestation periods and mating rituals. How long is the gestation period, how do the mates court each other, and do they mate for life? What are some other interesting facts? Choose any three mammals you are interested in and use any sources you like. Write a three-paragraph essay comparing the gestation period of the three animals.

For an extra challenge, see if you can find out if any mammal has a shorter gestation period than mice or a longer one than Asian elephants.

Answers

Answer:

hold on i will help you soon

The period of time when sexual intercourse takes place between two organisms is called mating. However, all the matings need not end in fertilization.

The gestation period is a time when the embryo develops completely into a fetus. This is usually from the time of fertilization to the time of giving birth.

Let us take the comparison of the gestation period of 3 mammals.

The gestation period of a cow varies from 279- 287 days. The mating between the bull and cow occurs during the heat or oestrus period of the cow. At that time the bull mounts on the cow or vice-versa may happen during the mating period. This is termed bulling.

In the case of horses, the gestation period is 320-380days. The mating ritual in a horse is a bit different than in a cow. It usually has three phases of sexual behavior which includes: courtship, mating, and post mating behavior. During courtship, the stallion which is the male horse will approach the mare, prance, sniff her, nuzzle her, and groom her. The mare which is the female horse may squeal, kick, or move away to show the stallion that she is not ready. When the mare is receptive to breeding, she may stand still, deviate her tail, and urinate, leading the stallion to mount her. It usually breeds well in pastures than in controlled environmental breeding conditions.

Whereas in camels, the gestation period is far longer than in cows and horses. It is about 360-440days. The male camel displays its organ called a dulla to show out is ready for mating. The male camel Urinates on its own tail and swishes it over its back so that the Urine contains female-attracting pheromones. It shows distinct violent behavior towards other male camels. The female camel undergoes an estrous cycle in the breeding season which lasts receptive for 3-4 days, and non-receptive following the other 10 days. In the receptive period, the camel sits down and exposes its genitalia for the male camel to copulate. The whole mating takes about 20 minutes and is accompanied by gurgling and frothing by the male and bleating by the females.

It should be noted that African elephants have longer gestation periods like Asian elephants whereas no other animal has a longer gestation period than an elephant or a shorter gestation period than mice.

To know more about fertilization, click below:

https://brainly.com/question/1154065

#SPJ1

Where is the DNA stored in a cell?

Answers

Answer: nucleus  

Explanation:

The dna cells are in the Nucleus

Whats the sum of the coefficients in Na2O + AIBr3 = NaBr AI2O3 of all the reactants and products when this equation is balanced?

Answers

Answer:

Answer: 12

Explanation:

\({ \sf{3Na _{2} O +2 AIBr _{3} \rightarrow 6NaBr + AI _{2} O _{3} }}\)

\({ \tt{sum = 3 + 2 + 6 + 1}} \\ = { \tt{12}}\)

Answer:

12

Explanation:

3+2+6+1

Two different elements that are chemically combined form a __________, while two different elements that are only physically combined form a __________.

Answers

Answer: Two different elements that are chemically combined from a compound, but two different elements that are physically combined form a mixture.

Hope this helped :D

Compound ; mixture
Hope this helps

Match the term to its definition (Lessons 6.03, 6.04 and 6.05)
(i can't fit this all without confusion)

Match the term to its definition (Lessons 6.03, 6.04 and 6.05) (i can't fit this all without confusion)

Answers

Answer: the first paragraph is rain forest biome and the 2nd one is arctic tundra biome and finally the last paragraph is ocean or marine biome

Explanation:

rain forests have warm temperatures and include alot of animals and plants , artctic tundra biome includes cold temperatures ice stuff and all that and ocean or marine biome is pretty much just the ocean with seals , whales and marine life yk.

1. What happens to the amount of energy as you move up the energy pyramid.

2. Describe how the other organisms would be affected if the secondary consumer in a food chain were removed.

5. Label the following as asexual or sexual reproduction
__________ Identical to parent __________ Most animals produce this way

Answers

Answer:

Look it up

Explanation:

If you don't know then look it up

1: energy is reduced by %10

Do you think a moving skateboard has energy? Why or why not?
PLEASEEEEEE HURRY

Answers

Answer:

"Yes," a moving skateboard has energy.

When the skater seems to be in motion or throughout a movement, the potential energy converts itself into the kinetic form of energy, and then it becomes potential energy again.

Furthermore, somewhere after every movement, the same skateboarder was around a similar height, — in other words thus every time it is equally powerful.

The response is thus the right one.

Explanation:

Yes, every object in motion has energy.

1 The car on the motorway can travel 1860 metres in 60 seconds.

a Write down the formula for speed.

b Work out how fast the car is going. Don’t forget the units!

2 The dog runs 1980 metres in 5 minutes. How fast is he running? (Remember, there are 60 seconds in each minute.)

3 Sometimes we know the speed of something, and we want to find out how far it will go in a certain time. The formula we need for this is:

Distance = speed  time

Answers

1.
a. Speed=Distance/Time

b. 31 m/s

2. Using the equation Speed=Distance/Time, the dogs speed is 396m/s

3. Time=Distance/Speed

Distance=Speed*Time

A high concentration of hydrogen ions (H+) means a solution is what? (example: HCl aka Hydrochloric Acid)

A) very basic

B) neutral

C) neither acidic or basic

D) very acidic

Answers

D because it has a high concentration

Answer:

Explanation: it would be D because hydrogen is very  acidic and don't worry  i'll always be here to help

HELP! DUE NEXT PERIOD!
A puddle of water that Kim observed on the way home from school had frozen by the next morning. what caused this change?

A. Energy was removed from the water molecules
B. Attractions between the water molecules decreased
C. The volume of the water was reduced
D. The water has undergone a chemical reaction

Answers

Answer: A

Explanation: the energy in the water has faded and then with the removal of energy often comes a state change

D. The water has undergone a chemical reaction the coldness created and endothermic reaction causing the water to freeze

OH COME ON HELP ME OUT HERE PLS
What type of battery cell is characterized by having two metals, zinc and copper, sitting in dilute sulfuric acid that touches both metals?

pls help me


wet cell

lead-acid cell

electric cell

voltaic cell

Answers

Answer:

a voltaic cell

Explanation:

Answer:

Explanation:

A voltaic cell did exam dont worry

In this cellular respiration process, some chemical bonds between atoms in oxygen and glucose molecules are _____. As atoms are rearranged, new chemical bonds are _____ between different atoms to produce carbon dioxide gas and water. This process releases energy.

The blank options are broken, and formed.
IXL N.2 7th Grade Science
Understanding the chemistry of cellular respiration ​

Answers

Answer:

In this cellular respiration process, some chemical bonds between atoms in oxygen and glucose molecules are broken. As atoms are rearranged, new chemical bonds are formed between different atoms to produce carbon dioxide gas and water. This process releases energy.

Answer:
In this cellular respiration process, some chemical bonds between atoms in oxygen and glucose molecules are broken. As atoms are rearranged, new chemical bonds are formed between different atoms to produce carbon dioxide gas and water. This process releases energy.

10) Draw Bohr Diagrams For The Following. Make sure you show the correct number of protons and neutrons found in the nucleus.

10) Draw Bohr Diagrams For The Following. Make sure you show the correct number of protons and neutrons

Answers

Answer:

the no.of protons in k is 19 and no.of neutrons is 20.

THE NUMBER OF PROTONS IN AL IS 13 AND NO.OF NEUTRONS IS 14

THE NUMBER OF PROTONS IN BORON IS 5 AND NO.OF PROTONS IS 6

THE NUMBER OF PROTONS IN LI IS 3 AND NO.OF NEUTRONS IS 4

Describe the change that you made that led to the decrease in the size of the greenleaf population. Explain why the change led to a decrease in the greenleaf population size.

(no science option)

Answers

Answer:

hmm

Explanation:

I don't know

The sun is my best guess. I don’t really know either
Other Questions
battle of salamis summary A firm should set the upper and lower limits on its cash balances close together if:Multiple Choicethe day-to-day variability of cash flows is large.the rate of interest is high. the cost of buying and selling securities is high.the uncertainty of cash flows is high.All of the answers are correct. the sequence negative one fourth comma two fifths comma negative three sixths comma four sevenths and so on is given. part a: assuming the pattern continues, list the next four terms in the sequence. show all necessary math work. (4 points) part b: write the explicit equation for f (n) to represent the sequence. show all necessary math work. (4 points) part c: is the sign of f (59) positive or negative? justify your reasoning mathematically without determining the value of f (59). (2 points) a defense mechanism commonly used by persons with cluster a personality disorders is: HELP ME Which contributed to the english reformation and the creation of the church of england?. Ripsii went to the stylist. If her hair was 30.7 meters long, and she cut it 20.3 meters short, then what numbers of meters did the stylist cut Ripsii's hair?!(exclamation point and grammar issues are probably mistakes.) The case of Purple Panda Products Purple Panda Products is considering a new project that will require an initial investment of $4 million. It has a target capital structure of 35% debt, 2% preferred stock, and 63% common equity. Purple Panda has noncallable bonds outstanding that mature in five years with a face value of $1,000, an annual coupon rate of 10%, and a market price of $1,050.76. The yield on the company's current bonds is a good approximation of the yield on any new bonds that it issues. The company can sell new shares of preferred stock that pay an annual dividend of $8 at a price of $92.25 per share. Assume that Purple Panda new preferred shares can be sold without incurring flotation costs. Purple Panda does not have any retained earnings available to finance this project, so the firm will have to issue new common stock to help fund it. Its common stock is currently selling for $22.35 per share, and it is expected to pay a dividend of $1.36 at the end of next year. Flotation costs will represent 8% of the funds raised by issuing new common stock. The company is projected to grow at a constant rate of 8.7%, and they face a tax rate of 40%. Purple Panda's WACC for this project will be: (Hint: Round your answer to two decimal places.) 11.07% O 9.90% 11.65 % 10.49% suppose an hcl solution has ph=0.250 what is the concentration of thid zhcl solition Let A be a 4 x 3 matrix and suppose that the vectors:z1=[1,1,2] Tz2=[1,0,-1] T*T stands for transpose*Form a basis for N(A). If b=a1+2*a2+a3, find all solutions of the system Ax=b. which type of isomer differs by having different connectivity between the atoms? Bonjour can u do my French homework .5(Photo). MERCI5 La phrase longue. Mettez en ordre ces phrases-puzzles. 12. What proportion of the world's people live in less developed countries (LDCs) in the current year? In more developedcountries (MDCs)? What proportion of the world's people is projected to live in LDCs in 2030? In 2050? What proportionis projected to live in MDCs in 2030? In 2050? As of June 28, 2020, Cedar Fair had issued $201.5 million in season passes. Cedar Fair estimated that guests would use passes worth$41.9 million during the remainder of 2020, $61.9 million from January 1 to June 30, 2021, and the remaining $97.7 million after June30, 2021. What amounts should Cedar Fair classify as current versus noncurrent, in its balance sheet on June 28, 2020? Read the claim from an argumentative essay. bob dylan should not have been awarded the nobel prize in literature. which sentence best states a counterclaim? only die-hard fans would argue that bob dylan's song lyrics are literature. the committee may have chosen dylan in order to make the nobel prize relevant to the 21st century. bob dylan has written many enduring songs and received many awards for his musical achievements. dylan's lyrics have had an enduring impact on people around the world, but they are not poetry nor prose. what tin pan alley composer was able to withstand the rise of conservatory trained composers on sheer talent despite his own lack of musical education? BIG BEN and a little analog alarm clock both keep perfect time. Which minute hand has the bigger angular velocity, omega ? Big Ben little alarm clock Both have the same to What is a name for the marked angle?Choose 1 answer:BAEBACCADADC A figure of speech in which something concrete, such as an object, person, or place stands for an abstract idea is called _____. metaphor figurative language symbolism personification What is the equation of the line that has a slope of 3 and a y- intercept of - 12?